九游会电气集团

九游会·J9(中国游)集团官网-真人游戏第一品牌

ex

PE

EX

线路金具

PRODUCT

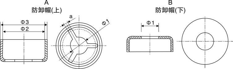
FX防盗帽

产品概述 Feature


 

            热镀锌钢制件, ,A加B为一套。。 。。 

 

 

产品价钱 Price

价钱规格最先日期竣事日期
0.00元/个2020-06-19 00:00:002020-06-19 00:00:00
完善资料
  • 真实姓名

  • 手机号码

    ※ 请填写真实手机号码以便我们与您联系

  • QQ

  • 验证码

关闭

地点 : 浙江省 乐清市 经济开发区 滨海南三路68号 / 手机 : +86 17895754287

电话 : +86-577-62057777 86-577-62058899 / 传真 : +86-577-62059988

九游会·J9(中国游)集团官网-真人游戏第一品牌

返回顶部

【网站地图】【sitemap】